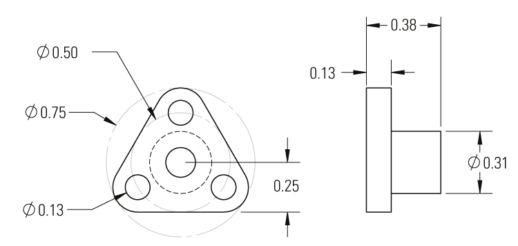
RSF4-4X1M
Can't find what you're looking for? Go to the Product Selector
仅丝杠螺母, RSF 样式, 4 毫米 X 4 毫米, 无预加载, RH, 乙缩醛, 10 磅力 设计负载
- RSF models provide the excellent lubricity and dimensional stability of our proprietary Acetal with the convenience of an integral flange.
- The RSF nut was developed as a morecompact solution over our standard MTS line
- Injection-molded, economical nut ideal for standard lead screws
- 可选用定制设计服务和快速原型
